Polarizers: LCD ဖန်သားပြင်များ၏ "optical gatekeepers"

LCD မျက်နှာပြင်ပေါ်ရှိတက်ကြွသောရုပ်ပုံများကိုသင်လေးစားသောအခါသာမန်ပါးလွှာသောရုပ်ရှင်သည်အလွန်အရေးကြီးသည်, ဤရှုပ်ထွေးသော optical အစိတ်အပိုင်းသည် GAMENISTIONETION သည် "GAMENTITY" ကိုတိကျသော "GAMENTICY" အဖြစ်ရှုမြင်သည်။


အဆိုပါ bidirectional အလင်းတံခါးဝ

LCDs သည် illumination အတွက် backlight units ကိုမှီခိုနေရသည်။ polarizer ၏အဓိကလုပ်ဆောင်ချက်သည်နှစ်ဆဖြစ်သည်။

Input filtering (အောက်ခြေ polarizer) - နောက်ခံအလင်းမှ Polarized Light သို့ Polarization Light နှင့်အတူ polarized light သို့ပြောင်းရွှေ့ခြင်း,

output control (ထိပ်တန်း polarizer) - အောက်ခြေ polarizer သို့ပုံမှန်အားဖြင့် 90 ဒီဂရီ perpendicular perpendicular မှ periented ။ အရည်ကြည်လင်သောမော်လီကျူးများသည်ကြည်လင်သော polarizer ၏ "polarizizer ၏" Pass Sunder "နှင့်လိုက်ဖက်သော polarization လမ်းကြောင်းကိုအောင်မြင်စွာလှည့်ပါကအလင်းကိုဖြတ်သန်းသွားနိုင်သည်။

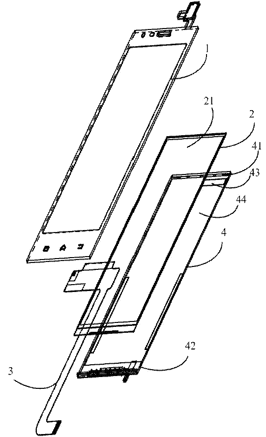
တိကျစွာငါးအလွှာ "အသားညှပ်ပေါင်" ဖွဲ့စည်းပုံ

Polarizer သည် functional layers ငါးခု၏တိကျသောအင်ဂျင်နီယာဖွဲ့စည်းမှုတစ်ခုဖြစ်သည်။

TAC ရုပ်ရှင် (triacetyl cellulololololololose - Top & Bottom layers) - "ကြံ့ခိုင်ဒိုင်းလွှား" နှင့် "optical informator" အဖြစ်ဆောင်ရွက်သည်။ ရုပ်ပိုင်းဆိုင်ရာကာကွယ်မှု (ခြစ်ခြင်း, အစိုဓာတ်ခံနိုင်ရည်ရှိခြင်း) နှင့် optical retardation property ကြောင့်အရောင်ဖျော့ဖျော့ pression နှင့် minimal ပုံပျက်မှုကြောင့်လျော်ကြေးပေးသည်။

PVA ရုပ်ရှင် (Polyvinyl အရက် - Core အလွှာ) - "Polarized Light One Generator" ဆန့်ခြင်းနှင့်ဆေးဆိုးခြင်း (အိုင်အိုဒင်းသို့မဟုတ် dichroic) သည်ခိုင်မာသည့် Dichroism ကိုပြသခြင်းသည်ခိုင်မာသည့် dichroism ကိုပြ သ. ခိုင်မာသည့် Dichroism ကိုပြသသည်။ ၎င်း၏စွမ်းဆောင်ရည်သည် polarizer ၏စွမ်းဆောင်ရည် (polarization ဒီဂရီ) နှင့်ကူးပြောင်းခြင်းကိုသတ်မှတ်သည်။

ဖိအားအထိခိုက်မခံသောကော် (PSA): "မမြင်ရသောနှောင်ကြိုးအေးဂျင့်။ " ဆေးကြည်ဖက်ဖန်ဆဲလ်အလွှာပေါ်သို့ polarizer စုဝေးကိုလုံလုံခြုံခြုံနှင့်တညီတညွတ်တည်းပစ်ခတ်သည်။ Transparency, ရေရှည်တည်ငြိမ်မှု, ရာသီဥတုခံနိုင်ရည်ရှိခြင်း, မလုံလောက်ခြင်း,

ဖြန့်ချိရုပ်ရှင်: "သယ်ယူပို့ဆောင်ရေးကာကွယ်မှု" PSA အလွှာကိုညစ်ညမ်းမှု, သယ်ယူပို့ဆောင်ရေးနှင့်သိုလှောင်မှုများအတွင်းမတော်တဆခံထားရသောကော်မှုန့်များကိုကာကွယ်ခြင်းနှင့်မတော်တဆကပ်ခြင်းမှကာကွယ်ပါ။ ၎င်းသည် panel စက်ရုံရှိမြည်မီလုပ်ငန်းစဉ်မတိုင်မီကပင်အခွံချွတ်။ ဖယ်ထုတ်ပစ်သည်။

အနာဂတ်တောင်းဆိုမှုများအတွက်စဉ်ဆက်မပြတ်ဆင့်ကဲဖြစ်စဉ်

ပိုမိုမြင့်မားသောပုံရိပ်အရည်အသွေး (4k / 8K, HDR), ပိုမိုကျယ်ပြန့်သောကြည့်ရှုနိုင်သောထောင့်, ပိုမိုပါးလွှာသော account များနှင့်ပြောင်းလွယ်ပြင်လွယ်များကိုပိုမိုတီထွင်ဆန်းသစ်တီထွင်မှုကိုမောင်းနှင်သည်။

Peter Profiles: Cop (cyclo olineol polinymer) သို့မဟုတ်အိမ်မွေးတိရစ္ဆာန်ရုပ်ရှင်များကဲ့သို့သောပါးလွှာသော TAC သို့မဟုတ်အခြားရွေးချယ်စရာပစ္စည်းများမွေးစားခြင်း။

စွမ်းဆောင်ရည် - စွမ်းဆောင်ရည် - ဖြတ်သန်းမှုနှင့်ဆန့်ကျင်ဘက်အချိုးအစားတိုးမြှင့်ရေး PVA အပြောင်းအလဲအတွက် PVA အပြောင်းအလဲအတွက်အကောင်းမြင်ခြင်း။

Vider Viewing Angles: LCD ကိုကြည့်ရှုရန်ထောင့်ကန့်သတ်ချက်များကိုလျှော့ချရန် optical လျော်ကြေးပေးခြင်းရုပ်ရှင်များကိုပေါင်းစည်းခြင်း။

ပြောင်းလွယ်ပြင်လွယ် - flexible polarizers ဖွံ့ဖြိုးတိုးတက်မှုနှင့် flexiable display နှင့်ပြောင်းလွယ်ပြင်လွယ် Oleds နှင့်လိုက်ဖက်တဲ့ flexible polarizers ။


CNK အကြောင်း

2010 ခုနှစ်တွင် SHENZHEN တွင်တည်ထောင်ခဲ့ပြီး 2019 ခုနှစ်တွင် CNK Electronics (CNK) သည် 2019 ခုနှစ်တွင် Fujian ရှိ Fujian ရှိ Longyan ရှိကမ္ဘာ့ ဦး ဆောင်စက်ရုံကိုတိုးချဲ့ခဲ့သည်။ ၎င်းသည်ဒီဇိုင်း, ဖွံ့ဖြိုးတိုးတက်မှု, ထုတ်လုပ်ခြင်းနှင့်ရောင်းချခြင်းနှင့်ရောင်းချခြင်းနှင့်ရောင်းချခြင်းနှင့်ရောင်းချခြင်းနှင့်ရောင်းချခြင်း, CNK သည်ဖောက်သည်များအားကုန်ကျစရိတ်သက်သာပြီးအလတ်စားမျက်နှာပြင်နှင့်အလတ်စား display display module များ, နည်းပညာနှင့်အရည်အသွေးမြင့်မားသောကြောင့် CNK သည်ရေရှည်တည်တံ့ခိုင်မြဲသောဖွံ့ဖြိုးတိုးတက်မှုကိုထိန်းသိမ်းထားသည်။ ဖောက်သည်များအားပိုမိုကောင်းမွန်သောတည်ငြိမ်ရေး 0 န်ဆောင်မှုများကိုပေးရန်လုပ်ဆောင်သည်။


စုံစမ်းမေးမြန်းရန်ပေးပို့ပါ။

X
သင့်အား ပိုမိုကောင်းမွန်သောကြည့်ရှုမှုအတွေ့အကြုံကို ပေးဆောင်ရန်၊ ဆိုက်အသွားအလာကို ပိုင်းခြားစိတ်ဖြာပြီး အကြောင်းအရာကို ပုဂ္ဂိုလ်ရေးသီးသန့်ပြုလုပ်ရန် ကျွန်ုပ်တို့သည် ကွတ်ကီးများကို အသုံးပြုပါသည်။ ဤဆိုက်ကိုအသုံးပြုခြင်းဖြင့် ကျွန်ုပ်တို့၏ cookies အသုံးပြုမှုကို သင်သဘောတူပါသည်။ ကိုယ်ရေးအချက်အလက်မူဝါဒ
ငြင်းပယ်ပါ။ လက်ခံပါတယ်။